- Каталог
- Трубопроводная арматура
- Регулирующая арматура
- Непрямого действия
- Трехходовые регулирующие клапаны
Трехходовой регулирующий клапан Z3
В течении 30 минут с вами свяжется менеджер
и ответит на интересующие вопросы по товарам.
и ответит на интересующие вопросы по товарам.
Описание
Регулирующие клапаны Z3 являются трёхходовыми регулирующими клапанами, управляемыми электро- или пневмоприводами. Возможные исполнения : Z3M — для смешения потоков и Z3R — для разделения потоков.
Предназначены для регулирования расхода пара, жидкостей или газов температурой до 300 °С и давлением до 4,0 МПа. По запросу возможны исполнения на более высокие температуры и давления.
Технические храктеристики
| Присоединение | фланцы: DN 15–150 мм |
| Условное давление | Z3/1 PN 1,6 МПа Z3/2 PN 2,5 МПа, Z3/3 PN 4,0 МПа, Z3/5 PN 4,0 МПа |
| Рабочая температура | Z3/1:-10...+200°С, Z3/2: -10..+200°С, Z3/3: -10..+300°С, Z3/5: -40..+300°С |
| Величина Kvs | 4–320 м3/ч |
| Допустимая протечка по седлу | не более 0,1% от Kvs |
| Тип электропривода | PSL, PSL-AMS |
| Тип пневмопривода | R, P |
Материалы
| Тип клапана | Z3/1 | Z3/2 | Z3/3 | Z3/5 |
| Корпус | Серый чугун GG25 | Высокопрочный чугун GGG40 | Углеродистая сталь WCB | Нержавеющая сталь CF8M |
| Внутренние детали | Нержавеющая сталь AISI304 | |||
| Седловое уплотнение | Мягкое, PTFE/графит | Нержавеющая сталь AISI304 | ||
Пропускная способность Kvs, (м3/ч)
| DN, (мм) | 15 | 20 | 25 | 32 | 40 | 50 | 65 | 80 | 100 | 150 |
|---|---|---|---|---|---|---|---|---|---|---|
| Kvs, (м3/ч) | 4 | 6,3 | 10 | 16 | 25 | 40 | 63 | 94 | 160 | 320 |
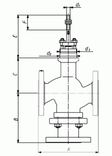
Размеры, (мм)
| DN, (мм) | 15 | 20 | 25 | 32 | 40 | 50 | 65 | 80 | 100 | 150 |
|---|---|---|---|---|---|---|---|---|---|---|
| A | 130 | 150 | 160 | 180 | 200 | 230 | 290 | 310 | 350 | 480 |
| C | 97 | 97 | 97 | 110 | 117 | 128 | 140 | 146 | 171 | 205 |
| E | 125 | 195 | ||||||||
| F | 50 | 100 | ||||||||
| d1 | M12×1,25 | M16×1,5 | ||||||||
| d2 | 57,15 | 84,15 | ||||||||
| d3 | 2 1/4"-16UN2A | 3 5/16"-16NS2A | ||||||||
Масса, (кг)
| DN, (мм) | 15 | 20 | 25 | 32 | 40 | 50 | 65 | 80 | 100 | 150 |
|---|---|---|---|---|---|---|---|---|---|---|
| Масса, (кг) | 8,5 | 10,5 | 12 | 15 | 18 | 26,5 | 36 | 55 | 75 | 150 |